Apple ha desarrollado una tecnología que permitiría leer tu cerebro por medio de los AirPods. El gigante de Cupertino publicó un estudio que detalla un nuevo método para analizar las señales de electroencefalografía a través de los auriculares. Con el uso de pequeños sensores y electrodos, los AirPods del futuro podrían rastrear e interpretar tu actividad cerebral.
El estudio, titulado “Aprendizaje de la composición relativa de las señales de EEG utilizando preentrenamiento de desplazamiento relativo por pares”, se centra en un método que utiliza la IA para extraer información cerebral desde la oreja. Conocida como PARS (o desplazamiento relativo por pares), esta técnica obliga a un modelo a aprender las señales de electroencefalografía (EEG) sin necesitar anotaciones humanas.
A diferencia del análisis convencional, en donde un neurólogo etiqueta cada pico y valle de una señal EEG, el algoritmo PARS toma dos segmentos de señal aleatorios e intenta adivinar el desplazamiento temporal. Esto le permite descubrir patrones de sueño y actividad cerebral a partir de un conjunto de datos sin etiquetar.

Usando esta metodología, los investigadores de Apple consiguieron que el PARS clasificara de forma confiable las etapas del sueño. El algoritmo demostró que puede interpretar los datos de tu cerebro con buena precisión y sin necesidad de utilizar cascos o dispositivos complejos. Lo mejor de todo es que la medición se podría lograr a partir de electrodos diminutos en los AirPods.
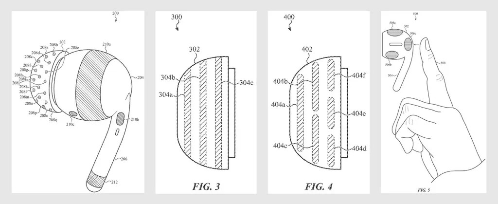
La prueba más evidente de esto último es una solicitud patente de 2023 que muestra unos auriculares equipados con un medidor EEG. Los AirPods utilizarían electrodos o sensores bioeléctricos integrados en la carcasa, los cuales serían capaces de medir la actividad eléctrica del cerebro directamente desde el oído.


Los AirPods medirán tu cerebro con ayuda de la IA
Para garantizar la precisión, los AirPods podrían equiparse con múltiples electrodos y un chip para segmentar la medición por zonas. Posteriormente, el iPhone haría un barrido para limpiar el ruido y enviaría los datos al modelo para interpretar los estados. La tecnología no solo serviría para monitorear el sueño, sino también para medir otros valores de salud como la actividad muscular, ocular o el pulso de volumen sanguíneo.
Aunque todo lo anterior suena muy bien, la medición de EEG desde el oído tiene algunas limitantes. La más importante es que las señales son más débiles y ruidosas que las que se obtienen a través de los cascos convencionales.


En este caso, Apple necesitaría diseñar una superficie de contacto en la carcasa de los AirPods para obtener datos fiables. Otro detalle a considerar es que el sistema debe compensar el ruido y artefactos que se generan al hablar, masticar o hacer ejercicio. Además, la compañía tendrá que asegurar la privacidad de la información, ya que los datos cerebrales son información sensible que requiere protección adicional.
Por el momento no existen detalles sobre cuándo podríamos ver unos AirPods con esta tecnología. Hace un año, la empresa Aware Custom Biometric Wearables presentó unos auriculares diseñados para medir la actividad cerebral. El dispositivo utiliza electrodos y sensores colocados cerca del cerebro, el nervio vago y los principales vasos sanguíneos del canal auditivo.
DERECHOS DE AUTOR
Esta información pertenece a su autor original y fue recopilada del sitio https://hipertextual.com/apple/apple-airpods-lectura-actividad-cerebral/